Description
Golf Cart Battery Watering System 48 Volt Systems Universal No Pump






Save Time and Money with a New Golf Cart Battery Watering System
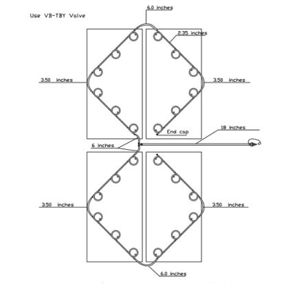
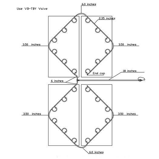
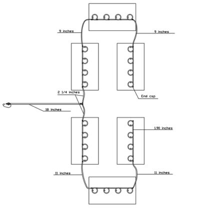
The On-Board Golf Cart Battery Watering System is specifically designed for use with golf carts. Though the Battery Watering system is not limited to just golf carts. Any golf cart style battery ( Traditional Lead Acid Batteries) also found in boats and RVs, Solar systems, electric floor sweepers and floor scrubbers and even pallet jacks. Based on the same technology as our industrial line of battery watering systems and valves this system is compatible with most battery brands. Crown, Deka, Trojan, US Battery to name the big ones… The Pro-Fill on-board battery watering system works by replacing the battery’s existing vent caps with valves that are interconnected with tubing, allowing the user to fill all cells of the battery from a single remote location. Snap on/snap off water connections turn the often ignored task of watering batteries into a quick, simple task taking 30 seconds or less! Each valve independently shuts off water flow to the cell when the proper electrolyte level is reached, allowing the batteries to be filled perfectly every time without having to look at the batteries.
After installing your system you will realize other cost benefits including extended battery life; increased performance. Being able to fill your batteries without removing the cell caps will allow you to avoid things like battery acid burns, ruined clothing, and breathing noxious fumes. You can finally relax and rest assured with properly watered batteries the battery lasts longer and performs better. The average person does not even know they need to check or fill there golf cart batteries with water til it is to late and they need to buy new batteries. Once they do know they still don’t really know how to do it or how much water should be added and when to do it. You can learn more about proper battery maintenance here. One of the biggest problems is overfilling a battery. This results in loss of acid or technically speaking changes the specific gravity of the electrolyte(acid) in the battery and once this occurs you can damage the battery plates when charging. either way it equals loss of capacity and life expectancy.
If you have any questions about this golf cart battery watering system just give us a call! Pete team is here to help you. Call (772) 247-GOLF

















